


|
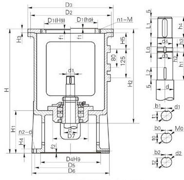
機架 型號 |
機架 公稱 直徑 |
傳動軸 軸徑d |
傳動軸上 端軸徑d1 |
減速機 輸出軸 徑d0 |
輸入 端接 口 |
輸出端接口 | 外形及其它尺寸 | 軸承型號 | 重量(kg) | ||||||||||||||
|
D4 H9 |
D5 | D6 | n2-d | f2 | A型 | B型 | H3 | H4 | H5 |
D7 H8/f7 |
A型 | B型 | |||||||||||
| H | H1 | H2 | H | H1 | H2 | ||||||||||||||||||
| XD1 | 200 | 30 | 20 | 12 |
見 表 |
245 | 295 | 340 | 8-22 | 6 | 575 | 220 | 415 | 730 | 295 | 495 | 17 | 24 | 85 | 180 | 46209 | 57 | 61 |
| 14 | |||||||||||||||||||||||
| 18 | |||||||||||||||||||||||
| 40 | 30 | 25 | 415 | 495 | 46209 | 57 | 60 | ||||||||||||||||
| 30 | |||||||||||||||||||||||
| XD2 | 250 | 50 | 40 | 30 | 290 | 350 | 395 | 12-22 | 6 | 750 | 268 | 556 | 995 | 388 | 681 | 20 | 30 | 100 | 245 | 46214 | 106 | 116 | |
| 35 | |||||||||||||||||||||||
| 40 | |||||||||||||||||||||||
| 60 | 45 | 35 | 556 | 681 | 46214 | 107 | 117 | ||||||||||||||||
| 40 | |||||||||||||||||||||||
| 45 | |||||||||||||||||||||||
| 70 | 55 | 45 | 565 | 690 | 46217 | 104 | 114 | ||||||||||||||||
| 50 | |||||||||||||||||||||||
| 55 | |||||||||||||||||||||||
| XD3 | 300 | 60 | 45 | 35 | 320 | 400 | 445 | 12-22 | 6 | 795 | 279 | 595 | 1040 | 399 | 720 | 20 | 30 | 100 | 280 | 46216 | 153 | 164 | |
| 40 | |||||||||||||||||||||||
| 45 | |||||||||||||||||||||||
| 70 | 55 | 45 | 595 | 720 | 46216 | 150 | 161 | ||||||||||||||||
| 50 | |||||||||||||||||||||||
| 55 | |||||||||||||||||||||||
| 80 | 65 | 55 | 606 | 731 | 46218 | 149 | 160 | ||||||||||||||||
| 60 | |||||||||||||||||||||||
| 65 | |||||||||||||||||||||||
|
機架 型號 |
機架 公稱 直徑 |
傳動軸 軸徑d |
傳動軸上 端軸徑d1 |
傳動軸端尺寸 | ||||||||||||||||
| M0 | d2(h9) | d3 | d4 | h1 | h2 | h3 | h4 | L1 | L0 | L2 | b1 | b0 | b2 | t1 | t0 | t2 | ||||
| XD1 | 200 | 30 | 20k6 | M25×1.5 | 25 | 22.8 | 22 | 97 | 3 | 15 | 48 | 40 | 23 | 30 | 6 | 5 | 5 | 16.5 | 21 | 22 |
| 40 | 30k6 | M35×1.5 | 35 | 32.8 | 32 | 97 | 3 | 15 | 48 | 40 | 24 | 30 | 8 | 6 | 6 | 26 | 31 | 31.5 | ||
| XD2 | 250 | 50 | 40k6 | M45×1.5 | 45 | 42.8 | 42 | 105 | 3 | 15 | 58 | 50 | 24 | 30 | 12 | 6 | 6 | 35 | 41 | 41.5 |
| 60 | 45k6 | M55×2 | 55 | 52 | 50 | 115 | 4 | 18 | 68 | 60 | 30 | 40 | 14 | 8 | 8 | 39.5 | 51 | 51 | ||
| 70 | 55m6 | M65×2 | 65 | 62 | 60 | 125 | 4 | 18 | 83 | 75 | 30 | 40 | 16 | 8 | 8 | 49 | 61 | 61 | ||
| XD3 | 300 | 60 | 45k6 | M55×2 | 55 | 52 | 50 | 125 | 4 | 18 | 68 | 60 | 30 | 40 | 14 | 8 | 8 | 39.5 | 51 | 51 |
| 70 | 55m6 | M65×2 | 65 | 62 | 60 | 125 | 4 | 18 | 83 | 75 | 30 | 40 | 16 | 8 | 8 | 18 | 61 | 61 | ||
| 80 | 65m6 | M75×2 | 75 | 72 | 70 | 139 | 4 | 18 | 98 | 90 | 32 | 50 | 18 | 10 | 10 | 58 | 69 | 70 | ||
|
機架 型號 |
機架 公稱 直徑 |
傳動軸 軸徑d |
傳動軸上 端軸徑d1 |
減速機 輸出軸 徑d0 |
輸入 端接 口 |
輸出端接口 | 外形及其它尺寸 | 軸承型號 | 重量(kg) | ||||||||||||||
|
D4 H9 |
D5 | D6 | n2-d | f2 | A型 | B型 | H3 | H4 | H5 | D7 | A型 | B型 | |||||||||||
| H | H1 | H2 | H | H1 | H2 | ||||||||||||||||||
| XD4 | 400 | 90 | 75 | 55 |
見 表 |
415 | 515 | 565 | 16-26 | 6 | 890 | 310 | 691 | 1115 | 420 | 806 | 25 | 35 | 100 | 310 | 46222 | 251 | 256 |
| 65 | |||||||||||||||||||||||
| 70 | |||||||||||||||||||||||
| 100 | 85 | 65 | 691 | 806 | 46222 | 256 | 270 | ||||||||||||||||
| 70 | |||||||||||||||||||||||
| 80 | |||||||||||||||||||||||
| XD5 | 500 | 100 | 85 | 65 | 520 | 620 | 670 | 20-26 | 6 | 1075 | 369 | 821 | 1325 | 494 | 946 | 30 | 40 | 140 | 335 | 46224 | 409 | 435 | |
| 70 | |||||||||||||||||||||||
| 80 | |||||||||||||||||||||||
| 110 | 90 | 70 | 821 | 946 | 46224 | 405 | 431 | ||||||||||||||||
| 80 | |||||||||||||||||||||||
| 90 | |||||||||||||||||||||||
| 120 | 100 | 90 | 829 | 954 | 46228 | 401 | 427 | ||||||||||||||||
| 95 | |||||||||||||||||||||||
| 100 | |||||||||||||||||||||||
| 130 | 110 | 95 | 829 | 954 | 46228 | 395 | 421 | ||||||||||||||||
| 100 | |||||||||||||||||||||||
| 110 | |||||||||||||||||||||||
| XD6 | 700 | 120 | 100 | 90 | 670 | 780 | 830 | 28-26 | 6 | 1185 | 399 | 909 | 1415 | 514 | 1024 | 35 | 45 | 100 | 400 | 46228 | 729 | 766 | |
| 95 | |||||||||||||||||||||||
| 100 | |||||||||||||||||||||||
| 130 | 110 | 95 | 909 | 1024 | 46228 | 721 | 758 | ||||||||||||||||
| 100 | |||||||||||||||||||||||
| 110 | |||||||||||||||||||||||
| 140 | 120 | 100 | 927 | 1042 | 46232 | 729 | 766 | ||||||||||||||||
| 110 | |||||||||||||||||||||||
| 120 | |||||||||||||||||||||||
| 160 | 140 | 120 | 943 | 1058 | 46234 | 697 | 734 | ||||||||||||||||
| 130 | |||||||||||||||||||||||
| 140 | |||||||||||||||||||||||
| XD7 | 900 | 140 | 120 | 100 | 940 | 1070 | 1124 | 40-30 | 6.4 | 1320 | 440 | 1021 | 1560 | 570 | 1141 | 40 | 50 | 140 | 520 | 46232 | 985 | 874 | |
| 110 | |||||||||||||||||||||||
| 120 | |||||||||||||||||||||||
| 160 | 140 | 120 | 1037 | 1157 | 46234 | 1000 | 889 | ||||||||||||||||
| 130 | |||||||||||||||||||||||
| 140 | |||||||||||||||||||||||
| 180 | 160 | 140 | 1050 | 1170 | 46240 | 1010 | 899 | ||||||||||||||||
| 150 | |||||||||||||||||||||||
| 160 | |||||||||||||||||||||||
| 200 | 180 | 160 | 1070 | 1190 | 46244 | 1032 | 921 | ||||||||||||||||
| 170 | |||||||||||||||||||||||
| 180 | |||||||||||||||||||||||
Copy right ? 2021 常州市格能順機械設備有限公司 主營臥式/電加熱/混合機|攪拌機